Main Content

Journal Bearing Pressure-Fed

(To be removed) Hydraulic portion of pressure-fed journal bearing

The Hydraulics (Isothermal) library will be removed in a future release. Use the Isothermal Liquid library instead.

For more information on updating your models, see Upgrading Hydraulic Models to Use Isothermal Liquid Blocks.

Library

Orifices

  • Journal Bearing Pressure-Fed block

Description

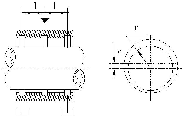
The Journal Bearing Pressure-Fed block simulates the hydraulic portion of a pressure-fed journal bearing, shown in the following illustration.

The lubricant under pressure p is pumped into the circumferential groove at the center of the bearing. The groove divides the bearing into two half-bearings. The lubricant exits through the end grooves located at a distance l from the central groove. The model is intended to be used in lubrication system simulation to assess the flow consumption through the pressure-fed journal bearing. The flow regime is assumed to be laminar due to very small clearances between the journal and the bushing.

The flow rate is computed using the Hagen-Poiseuille equation (see [1]):

q=πprc33μl(1+1.5ε2)

where

qVolumetric flow rate
pPressure differential across the bearing
rJournal radius
cRadial clearance at neutral position
μDynamic viscosity
lLength of the half-bearing
εRelative eccentricity, ε = e / r
eEccentricity or journal deflection from the central position

The journal radial displacement, which controls the bearing eccentricity, is imported through the physical signal port J. Connections A and B are hydraulic conserving ports associated with the bearing inlet and outlet, respectively. The block positive direction is from port A to port B. This means that the flow rate is positive if it flows from A to B and the pressure differential is determined as Δp=pApB,. Positive signal at the physical signal port J increases the eccentricity and is limited to the radial clearance of the bearing.

Basic Assumptions and Limitations

The flow regime is assumed to be laminar due to small clearances.

Parameters

Journal radius

The radius of the journal. The parameter must be positive. The default value is 0.05 m.

Radial clearance

The radial clearance between the journal and the bushing at neutral position. The parameter must be positive. The default value is 2e-4 m.

Bearing half-length

The length of the half-bearing, that is, the distance between each of the end grooves and the central groove. The parameter must be positive. The default value is 0.025 m.

Global Parameters

Parameters determined by the type of working fluid:

  • Fluid density

  • Fluid kinematic viscosity

Use the Hydraulic Fluid block or the Custom Hydraulic Fluid block to specify the fluid properties.

Ports

The block has the following ports:

A

Hydraulic conserving port associated with the bearing inlet.

B

Hydraulic conserving port associated with the bearing outlet.

J

Physical signal port that controls the journal deflection.

References

[1] Shigley, J., C. Mischke, and R. Budynas. Mechanical Engineering Design. New York: McGraw-Hill, 2004.

Extended Capabilities

expand all

C/C++ Code Generation
Generate C and C++ code using Simulink® Coder™.

Version History

Introduced in R2012b

collapse all